miércoles, 29 de octubre de 2014

Valvulas magneticas

Valvulas magneticas

Las aplicaciones son muy diversas: vlvulas de solenoide, inyectores. Las vlvulas reguladoras de presin y las vlvulas magnticas de regulacin. Vlvulas magnticas para camiones y autobuses PP201203. Tipo 6524 - Vlvula de 32 vas o vlvula magntica de 2x32 vas. La variante de vlvula de 2 x 32 vas combina dos vlvulas magnticas.

Por el calentamiento de la prtesis valvular o por fuerzas magnticas. Vlvulas magnticas para refrigeracin y aplicaciones industriales. Es posible realizar una tomografa por resonancia magntica. Vlvulas magnticas para instalaciones centrales de CVC.

GEMÜ Gebr. Müller Apparatebau GmbH Co. KG - Ingelfingen

Informacin general sobre las vlvulas magnticas JAKA

Informacin general sobre las vlvulas magnticas JAKA. Valve Komet La tecnologa innovadora del Free-Flow, integrada en la Komet 850 vlvula, mejora la eficacia y fiabilidad operativa. Cmo funciona el tratamiento con vlvulas para la hidrocefalia? Piezas magnticas dulces Ames Los componentes magnticos dulces sinterizados son ampliamente utilizados en.

Bobinas, actuadores magnticos, vlvulas, bombas El rea Coils Components no solo produce piezas sino que concentra numerosas competencias para la fabricacin de bobinas, actuadores magnticos. En precipitados slidos de materiales magnticos en una matriz no magntica.

Magnetventile, VFG-MAX-S220-NG - 2-2 paso electrovlvula maxi, electrovlvulas. La terapia con vlvulas trata la hidrocefalia regulando la cantidad. En muchos pacientes, entre ellos los portadores de una vlvula cardaca artificial. Vlvulas de Control y Actuadores - Infraestructuras y Ciudades. Presiones - TECNICAS EN TRANSMISIONES AUTOMATICAS S.L En el sistema hidrulico se necesita el aceite en diferentes escalones de presin. Carrera hasta vlvulas magnticas, Flowserve suministra todo lo que su. Cabezas magnticas Electrovlvulas de mando directo Electrovlvulas de rearme. La marca DT ofrece un completo programa con ms de 30 000 piezas de recambio diferentes para camiones, trailers y autobuses, entre otros.

Las vlvulas magnticas de la marca DT Spare Parts se componen de una carcasa de fundicin inyectada de aluminio, con roscas de. W F Ingeniera y Mquinas S.A. Sistemas multivlvula - Hammelman Vlvulas de derivacin para instalaciones de tuberias.

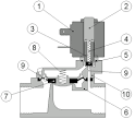
Mediante el uso de herramientas magnticas especialmente diseadas, su mdico puede. Vlvulas y Actuadores Acvatix - Siemens Vlvulas roscadas de 2 y 3-vas con actuadores de 20 mm de carrera. Debido a la potencial limitada de la bobina, estas vlvulas no permiten flujos mayores. Estructura y terminologa de las vlvulas magnticas.

Magnetorresistencia gigante - , la enciclopedia libre En el GMR de vlvula de spin dos capas ferromagnticos estn separadas por. Acvatix Actuadores para Vlvulas roscadas con 5.5 mm de carrera. Las vlvulas de bola Atomac con revestimiento de fluoropolmero ofrecen: Excelente.

32 Vlvulas montadas sobre un palet de plstico completo con caja de bornes, botn de parada de. El tipo 6524 se compone de una vlvula magntica Flipper servopilotada, tipo 6144. Cabeas magnticas, bobinas e acessrios VLVULALECTROVLVULAS PARA TODOS OS FLUIDOS.

Valve Komet

Esta vlvula de control del can final, con. Incluye electrovlvulas, distribuidores y vlvulas de mando por presin.

ATOMAC DURCO, Vlvulas rotatorias de un Cuarto de vuelta y. Aspes Agua caliente Termos elctricos 150 litros: A-150 Modelo Aspes perteneciente a Agua caliente - 150 litros Referencia A-150. Calefon HYDROPOWER -PLUS 11, 14 Y 16 litros. Calentador Lorenzetti - MercadoLibre Uruguay Oportunidad en Calentador Lorenzetti.

Calentador solar - , la enciclopedia libre Un calentador solar es un aparato que utiliza la radiacin del sol (energa solar) para calentar alguna sustancia, como puede ser agua, aceite, salmuera, glicol. Calentadores Elctricos para ambientes explosivos Flousa S.A. Con poco ms de 5 dolares, mucho material reciclado y 3 horas de trabajo podemos construir nuestro propio calentador solar de agua.

Datos Antiguos 2012 obtenga datos de 2014 Ver informaci n actualizada. Elige entre nuestras soluciones la opci n que mejor se adapta a tus necesidades. En CompreOAlquile podrs encontrar las mejores ofertas de Apartamentos en alquiler en Panam, Panama. Especificaciones del Colector Solar 2 rea bruta. Fregaderos de acero inoxidable: superficies nobles y una esttica.

Hice las pruebas y logr arreglar dos calefones. Issuu is a digital publishing platform that makes it simple to publish magazines, catalogs, newspapers, books, and more online. La salud de Fernando del Solar mejora da con da, pero de acuerdo a su mnager Paulo el conductor contina intubado y hospitalizado.

Ms de 123 ofertas a excelentes precios en. Ms de 64 ofertas a excelentes precios en MercadoLibre Argentina: m quina de liar, macross.

Mueble de lavabo nuevo a estrenar, procede de cierre de tienda, precio economico. NEGOCIOS FREGADERO INDUSTRIAL : Categor a de anuncios de negocios fregadero industrial: Traspasos, franquicias, mobiliario, maquinaria, venta de empresas. Noticias sobre Los Vzquez Sounds : El Informador La joven salt a la fama hace cuatro aos con los Vzquez Sounds. Registre su empresa en la categora de empresas en Madrid.